手動稱重油桶卸料機(夾鐵桶)
產品介紹
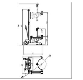
手動稱重油桶卸料機(夾鐵桶) 手動液壓或腳踏兩用升降,在空中可355度手搖旋轉,安全可靠;
不銹鋼顯示儀表,耐腐蝕,光潔度好,稱重精度高達1/3000;
手動稱重油桶卸料機適合食品調料的攪拌及裝卸,在搬運的同時稱出產品的重量,省人力;
廣泛應用于涂料油墨、膠粘劑、染料、顏料、農藥、造紙、皮革、石油、化工、等行業。
Manual hydraulic or foot pumping to lift up and down, 355 degree manual rotation, safe and reliable;
Stainless steel display scale, corrosion-resistant, smooth finish, weighing accuracy could reach 1/3000;
Hydraulic Tilting Drum Lifter with Scale is proper to use in mixing, loading and unloading food and flavorings, and weigh the weight in transportation, saving labors;
Widely used in industry from coating and ink, adhesives, dye, paint, pesticides,
Paper making, leather, petroleum, chemicals etc.
產品參數
產品圖片
1.客戶收到的產品與訂貨產品型號不符。
2.客戶收到的產品不符合訂貨要求中的規定,造成不能正常使用。
4.在交貨的運輸過程中造成產品缺損,無法修復。
售后說明
1.整車保修一年
2.整車鋼結構焊接斷焊或斷裂一年內正常保修(超載導致變形,變形不保修)
3.24小時到48小時內到達或解決
4.提供操作視頻講解更換配件
5.終身提供配件
鄭重承諾
不好使用包退換!
采購:手動稱重油桶卸料機(夾鐵桶)
- *聯系人:
- *手機:
- 公司名稱:
- 郵箱:
- *采購意向:
-
*驗證碼:
跟此產品相關的產品 / Related Products

- 半電動搬運車
- 高性價比、經濟節能、綠色環保; 結構精致、設計精湛,外形簡約; 體積小巧,轉向輕便,輕松操作; 充分滿足大多數客戶的載重使用需求; 部件組裝模塊化,便于維護; 高強度車身和貨叉,堅固耐用,超長壽命設計

- 火車輪專用全電動搬運車
- 全電動火車輪搬運車,專用于火車輪拆裝移位的作業。 車體設計的專用保護夾具,在拆卸時良好地保護著火車輪不受擠壓,碰撞。 具有操作舒適、穩定性高、操作簡便、噪音低、無污染、故障率低等特點。 是火車站內高效,安全,環保型理想搬運設備。 步行式操作,無級變速行駛,大大提高工作效率。

- 8T重型電動搬運車
- 符合歐洲EN1757-1:2001,EN1727 標準; 大容量的牽引電池,充電方便快捷,電量持久; 可選配折疊式踏板,開閉操作方便; 臺灣極智泵站,體積小,可靠性高,工作平穩,節能,降噪,環保; 美國進口的科蒂斯(Curtis)交流電控系統反應靈敏,操控自如,可靠性高; 加裝安全防爆閥,液壓軟管一旦失效情況下貨物不會快速下落,確保操作人員人身安全。





